會員權利
付款方式
• 匯款
• 月結
戶名:佳微影像科技有限公司
銀行名稱:彰化商業銀行
銀行代號:009
銀行帳號:5876-86-008870-00 完成付款後,請於訂單備註
運費及配送方式
1.全館免運費,採用順豐常溫宅配服務。
2.配送時間約1至2個工作日送達指定地址,如遇天災人禍(颱風、物流轉錯站...)
導致延遲到貨為無法預知的狀況。
3.若需要更改配送資訊,包括收件人姓名、公司名稱、電話和地址等,請立即
致電通知(04-2534-8486),以確保順利配送。
下單注意事項
1.訂單成立後,現貨商品約3-7個工作天出貨。如需指定時間送達,請事先告知。
預購商品約30-45天,提前到貨將會提前寄出。
2.客製化商品製作時間為30〜45 個工作天,如商品數量較大可能延長製作天數。
3.客製化商品,下單後將不接受取消訂單,請確認需求後再下單購買。
4.發票將隨貨寄出,如需寄至其他地址或提前寄出,請特別告知且支付物流費。
5.為保障彼此權益,開箱時請全程錄影。
退換貨政策
根據消費者保護法第十九條,您享有自收到商品當天起算的7日鑑賞期權利。
鑑賞期非試用期,若有任何問題,請務必與客服聯繫,請勿自行將商品寄回。
客製化商品不適用7日鑑賞期,除有重大瑕疵或破損外,不接受退換貨。
退換貨流程:
1.消費者需在收到商品後的7日內提交退換貨申請。
2.請聯繫客服團隊進行退換貨申請,並提供訂單資訊、退換貨原因和照片。
3.申請後三日內寄回商品,需保持完整性,包括商品、外盒、配件和訂單等。
4.隨貨附上發票,請一併寄回。我們將處理相關的發票作廢和後續處理事宜。
退款程序:
1.收到退貨產品後,我們將進行相關檢查。
2.符合退貨標準的產品將進行退款處理。退款金額將按原付款途徑退回。
3.退款通常於7日內處理,實際退款到賬時間可能因支付機構而有所差異。
我們保留根據情況更新或修改退換貨政策的權利!
佳微影像(以下簡稱本網站),為了讓您能夠安心使用本網站的各項服務與資訊,特此向您說明本網站的隱私權保護政策,以保障您的權益,請您詳閱下列內容:
一、隱私權保護政策的適用範圍:隱私權保護政策內容,包括本網站如何處理在您使用網站服務時收集到的個人識別資料。隱私權保護政策不適用於本網站以外的相關連結網站,也不適用於非本網站所委託或參與管理的人員。
二、個人資料的蒐集、處理及利用方式:當您造訪本網站或使用本網站所提供之功能服務時,我們將視該服務功能性質,請您提供必要的個人資料,並在該特定目的範圍內處理及利用您的個人資料;非經您書面同意,本網站不會將個人資料用於其他用途。 本網站在您使用服務信箱、問卷調查等互動性功能時,會保留您所提供的姓名、電子郵件地址、聯絡方式及使用時間等。 於一般瀏覽時,伺服器會自行記錄相關行徑,包括您使用連線設備的IP位址、使用時間、使用的瀏覽器、瀏覽及點選資料記錄等,做為我們增進網站服務的參考依據,此記錄為內部應用,決不對外公佈。 為提供精確的服務,我們會將收集的問卷調查內容進行統計與分析,分析結果之統計數據或說明文字呈現,除供內部研究外,我們會視需要公佈統計數據及說明文字,但不涉及特定個人之資料。
三、資料之保護:只由經過授權的人員才能接觸您的個人資料,如因業務需要有必要委託其他單位提供服務時,本網站亦會嚴格要求其遵守保密義務,並且採取必要檢查程序以確定其將確實遵守。
四、網站對外的相關連結:本網站的網頁提供其他網站的網路連結,您也可經由本網站所提供的連結,點選進入其他網站。但該連結網站不適用本網站的隱私權保護政策,您必須參考該連結網站中的隱私權保護政策。
五、與第三人共用個人資料之政策:本網站絕不會提供、交換、出租或出售任何您的個人資料給其他個人、團體、私人企業或公務機關,但有法律依據或合約義務者,不在此限。 前項但書之情形包括不限於: 經由您書面同意。 法律明文規定。 為免除您生命、身體、自由或財產上之危險。 與公務機關或學術研究機構合作,基於公共利益為統計或學術研究而有必要,且資料經過提供者處理或蒐集著依其揭露方式無從識別特定之當事人。 當您在網站的行為,違反服務條款或可能損害或妨礙網站與其他使用者權益或導致任何人遭受損害時,經網站管理單位研析揭露您的個人資料是為了辨識、聯絡或採取法律行動所必要者。 有利於您的權益。 本網站委託廠商協助蒐集、處理或利用您的個人資料時,將對委外廠商或個人善盡監督管理之責。
六、Cookie之使用:為了提供您最佳的服務,本網站會在您的電腦中放置並取用我們的Cookie,若您不願接受Cookie的寫入,您可在您使用的瀏覽器功能項中設定隱私權等級為高,即可拒絕Cookie的寫入,但可能會導至網站某些功能無法正常執行 。
七、隱私權保護政策之修正:本網站隱私權保護政策將因應需求隨時進行修正,修正後的條款將刊登於網站上。
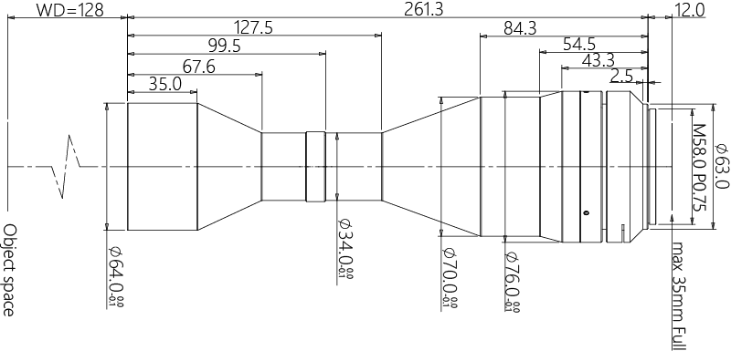
MVCM35FH-48-M58-AL
最高支持35mm Full靶面相機,放大倍率0.908X
數量
產品介紹
產品介紹
詳細參數
相關配件
隱私權政策
訂貨型號
· MVCM35FH-48-M58-AL
外形尺寸

*產品所涉資料可能因環境等因素而產生差異,本公司不承擔由此產生的後果。
相關商品
※ 請 留 意 ※
1.為了更有效率地處理訂單,請務必分開提交議價及詢價商品。
2.同意報價即代表您確認下單,請再次仔細核對訂購內容。
3.如有任何疑問或需要進一步協助,請隨時與我們聯繫。